130 字
1 分钟
使用雨云服务器MCS管理面板搭建纯净我的世界服务器
2022-07-01

使用雨云服务器MCS管理面板搭建纯净我的世界服务器

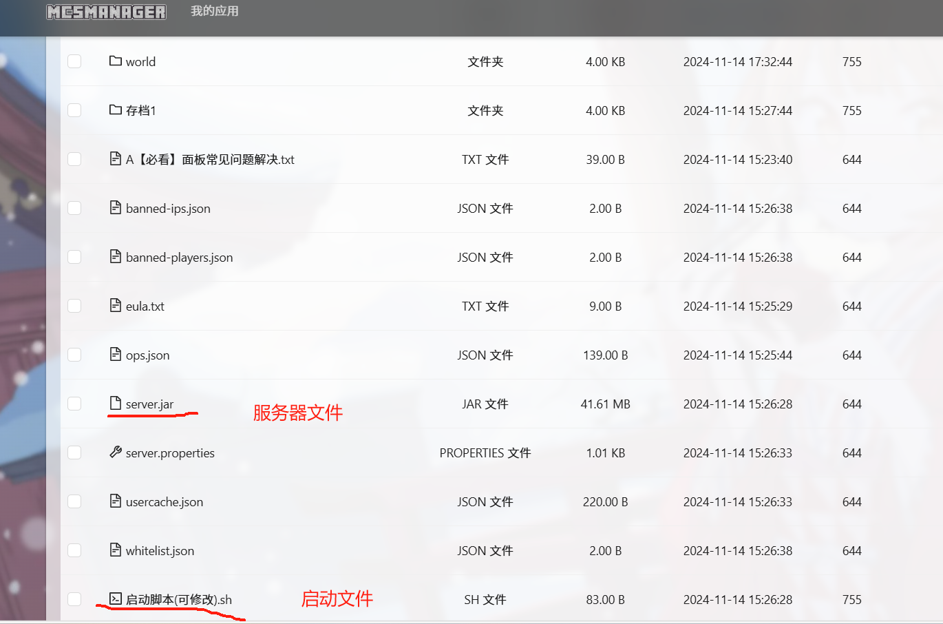
一、首先准备好服务器环境,确定服务器的java版本要和jar服务器server文件一致; m3h4jnsw.png 二、主意好启动脚本内容的文件名和jar的文件名要一致; m3h4kczo.png m3h4kjcn.png 此外修改server.properties文件,修改服务器的端口号,和雨云服务器保持一致; m3h4lhbu.png m3h4lm06.png 三、在管理面板启动实例即可;注意服务器资源的使用;

使用雨云服务器MCS管理面板搭建纯净我的世界服务器
https://www.sherlocklands.site/posts/yuyun/
作者
应作如是观
发布于
2022-07-01
许可协议
CC BY-NC-SA 4.0

部分信息可能已经过时

封面
示例歌曲
示例艺术家
封面
示例歌曲
示例艺术家
0:00 / 0:00
检测中...
速度

扫码添加好友

QR Code

扫码添加我的微信/QQ好友